600 kr.
Stand: Som ny - ingen synlige brugsspor
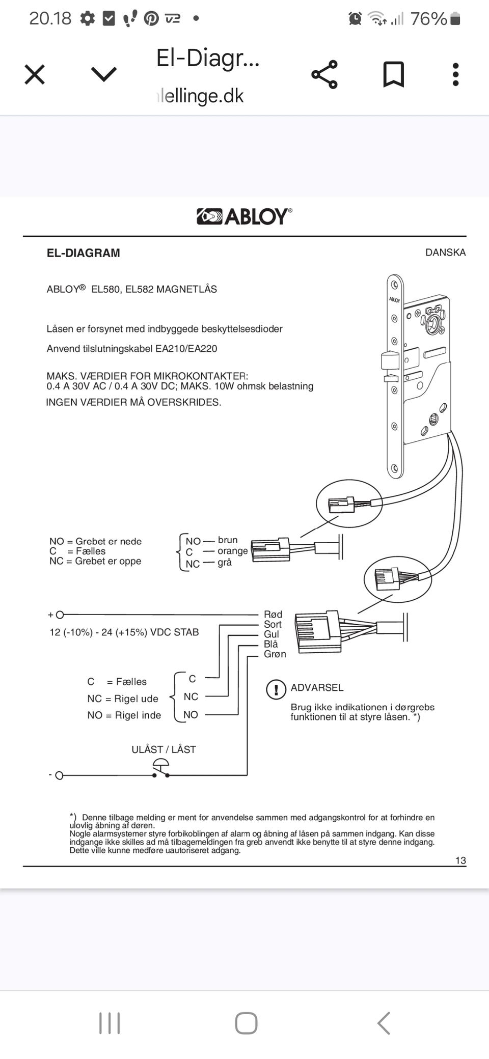
Abloy EL580 Låsemekanisme 50mm split spindel
Du skal være logget ind for at se brugerprofiler og sende beskeder.
Del annonce
Sidst redigeret: 2.11.2025 kl. 21:31 ・ Annonce-ID: 15580295